Big Rig
Swivels

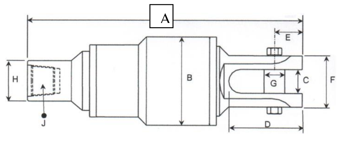
SlimDril International supply a full range of big rig swivels engineered for high-load HDD operations. Manufactured in Europe and fitted with heavy-duty SKF bearings, these swivels deliver exceptional strength, reliability, and service life on large drilling rigs.

The stated load ratings represent the dynamic capacity of the bearing, not simply the strength of the surrounding steelwork—providing a true reflection of real-world performance under load.

Contact Us ➜

Features & Benefits

Heavy-Duty European Manufacture

Manufactured in Europe using premium SKF bearings, ensuring consistent quality and long service life.

High Dynamic Load Capacity

Rated from 44 tonnes to 550 tonnes, based on the bearing’s dynamic capacity for accurate, real-world performance.

High-Strength Construction

Machined from AISI 4145 high tensile steel for maximum strength and durability in demanding HDD applications.

One-Piece Shaft & Clevis Design

Single-piece shaft and clevis construction minimises stress points and improves overall structural integrity.

Flexible Connection Configurations

Available in box-to-clevis or clevis-to-clevis designs to suit different rig and pull-back setups.

Sealed Greasing System

Side-mounted grease point with a sealed system prevents bentonite ingress, protecting internal components and extending service life.

Downloadables

Contact Us.

Do you have a question? We will be happy to help.

Find Us.

UK
Units 6 & 7 Leyland Court Lowestoft Suffolk NR32 2EP UK

Europe
Weena 290 – 3012NJ – Rotterdam – The Netherlands

Phone

+44 (0) 1493 656145

Email

enquiries@slimdril.com

Get in Touch ➜

Download our app

Use our selection of calculators and PDF documents to support our products and your HDD operations